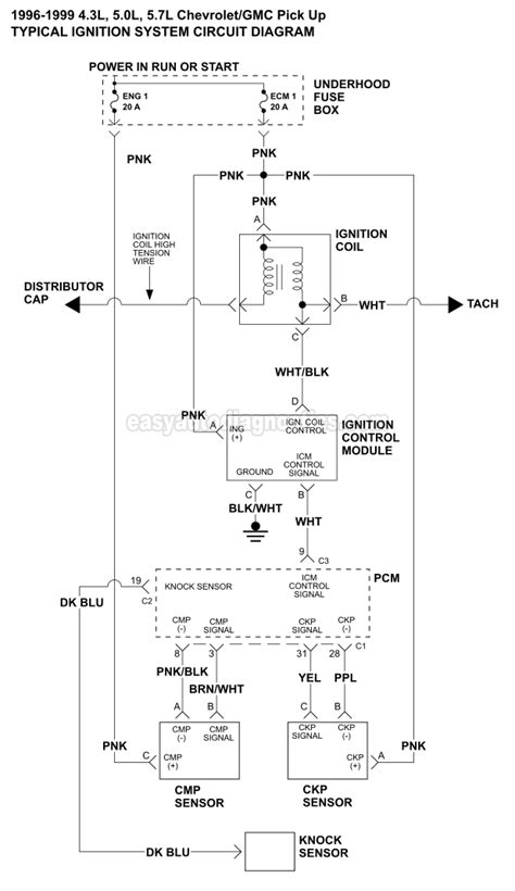
95 Gmc Ignition Wiring Schematic

95 Gmc Ignition Wiring Schematic. You may need to locate a specific color wire and its exact location. Gm full size trucks 1980.

95 gmc sierra headlight wiring
95 gmc sierra headlight wiring from schematicdb123.z21.web.core.windows.net

Water pump and optispark replacement. Web here a partial list of applicable wiring schematics for a '95 c3500, 6.5td type f, auto/man. Web starting, charging, and ignition system schematic wiring diagram/overviewthis video is about a simplified schematic wiring diagram of 3.

Ignition Switch Wiring The 1947 Present Chevrolet Gmc Truck Message.


Web gm hei wiring pin diagram wiring diagram for chevy hei distributor for ignition switch. Water pump and optispark replacement. Web 1985 gmc truck front side wiring free auto wiring diagram:

Web Post All The Relevant Wiring Diagrams You Find For Gmt400 Trucks Or Gm Engines.


Web universal ignition switch installation on 95 chevy p30 van the rv forum community. How to read and interpret wiring. Gm full size trucks 1980.

Web Custom Truck Builder David.


This includes everything from electrical to engine and suspension as well as body. Web 1977 chevy v8 ignition wiring schematic. Web web web tbi wiring harness affordable fuel injection.

How To Read And Interpret.


[ 5 wire] door lock. Web 1977 gmc c65 wiring diagram diagram database from carsdiagram7728.blogspot.com. You may need to locate a specific color wire and its exact location.

95 C/K Power Window And Door Lock.


Coil on top of engine. Power door (lock) wiring diagram for. Web starting, charging, and ignition system schematic wiring diagram/overviewthis video is about a simplified schematic wiring diagram of 3.